抢注“李文亮”商标的公司,道歉了!网友:吃
长沙一公司抢注多个“李文亮”商标 知产局:涉违反商标法 严肃处理
每经编辑:何小桃
2月7日凌晨,武汉市中心医院眼科医生李文亮在抗击新冠肺炎疫情工作中不幸感染,经全力抢救无效去世。
就在全社会沉浸在李文亮去世的悲痛中时,有商家却在此时抢注名称为“李文亮”的商标。
不过,该商家的如意算盘最终落空。2月27日晚间,国家知识产权局商标局网站发布消息:
李文亮是武汉市中心医院眼科医生,因接诊感染新冠肺炎不幸去世。将其姓名作为商标使用或者注册,易造成重大社会不良影响,因此,“李文亮”商标注册申请依法应予驳回。
中共长沙市天心区委网信办官方微博@天心发布27日晚间也发布消息表示:
长沙市福茶堂电子商务有限公司法定代表人姜某某表示,深刻认识到问题的严重性,已主动撤回相关商标申请,并出具致歉书。
李文亮去世当天 有公司申请抢注“李文亮”商标
启信宝资料显示,长沙市福茶堂电子商务有限公司成立于2019年5月16日,为自然人独资企业,公司法定代表人为姜维才。
2月7日,该公司申请了四个商标,其中三个名称为“李文亮”,另一个为“文亮”。这四个申请的商标的商标类型分别为医疗器械、医药、方便食品,在医疗器械这一类型下,该公司分别申请了“李文亮”、“文亮”两个商标。

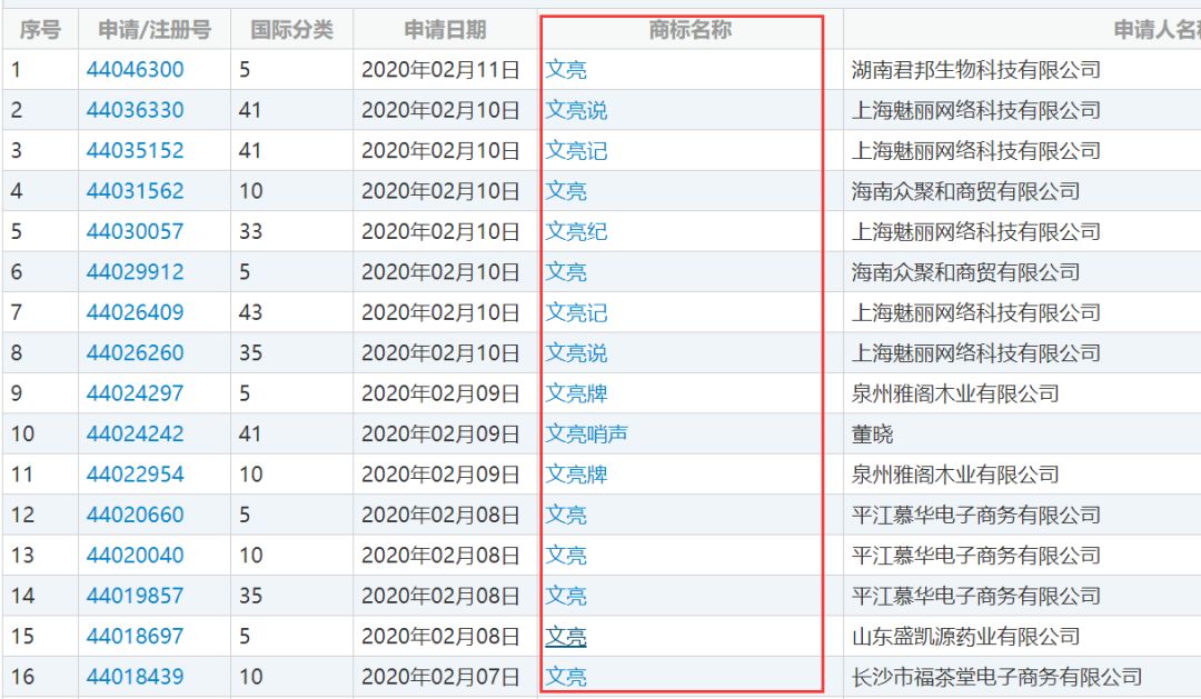
每经小编(微信号:nbdnews)在国家知识产权局商标局网站查询发现,目前以上四个商标申请中,注册号为44017579、44015709、44013349的申请已检索不到;商标名称为“文亮”、注册号为44018439的申请状态为“此商标正等待受理”。
国家知识产权局商标局网站显示,以长沙市福茶堂电子商务有限公司为申请人的商标申请多达73条,其中不乏人名,例如盛教授、汤若望、申管家等命名的商标。
另外,每经小编(微信号:nbdnews)注意到,2月7日以来,已有多家公司申请以“文亮”为商标名的商标。

澎湃新闻报道昨日报道,据具体负责此事调查现场的长沙市知识产权局知识产权科相关人员介绍,长沙市福茶堂电子商务有限公司抢注“李文亮”名字的行为,涉嫌违反我国《商标法》第十条第一款第(八)项的规定,有害于社会主义道德风尚或者有其他不良影响的标志不得作为商标使用。
“要是在平时,注册名字不违法,但是在疫情期间,该公司在李文亮去世当天注册他的名字造成了社会不良影响。现在当事人目前非常配合调查,已经撤掉商标注册申请,我们接下来还将对于事件的恶意程度、是否取得违法所得等情况详细调查后,严肃处理,绝不姑息。”长沙市知识产权局相关人员说。
国家知识产权局商标局:“李文亮”商标注册申请依法应予驳回
据国家知识产权局商标局网站2月27日晚间消息,为依法严厉打击与疫情相关的恶意商标注册申请行为,商标局加大对与疫情相关的、易产生不良影响的商标注册申请的管控力度,制定《疫情防控相关商标审查指导意见》,明确与疫情相关人员姓名,含疫情病毒名、疾病名的相关标志,疫情相关药品标志,防护产品相关标志,其他疫情相关标志等的审查指导意见。
火神山医院、雷神山医院是武汉抗击疫情前线医院名称,是疫情防控期间全社会舆论关注焦点,是全国人民团结一心,抗击疫情的重要标志之一。火神山医院、雷神山医院以外的其他申请人将其作为商标注册易造成重大社会不良影响,因此,“火神山”“雷神山”商标注册申请依法应予驳回。
李文亮是武汉市中心医院眼科医生,因接诊感染新冠肺炎不幸去世。将其姓名作为商标使用或者注册,易造成重大社会不良影响,因此,“李文亮”商标注册申请依法应予驳回。
截至目前,商标局已对“火神山”“雷神山”等近1000件与此次新冠肺炎疫情相关的商标注册申请实施管控。
当事人道歉:深刻认识到自己的错误行为
中共长沙市天心区委网信办官方微博@天心发布27日晚间消息:2020年2月27日,据媒体报道,李文亮去世当天,长沙市福茶堂电子商务有限公司将李文亮的名字申请注册商标。
长沙市知识产权局高度重视,第一时间与天心区市场监督管理局(知识产权局)对反映情况进行调查核实。

经查,2月7日,长沙市福茶堂电子商务有限公司法定代表人姜某某通过网上申报途径,提交了名为“李文亮”、“文亮”等共4件商标注册申请。媒体反映情况基本属实。
长沙市福茶堂电子商务有限公司在举国一心抗击新型冠状疫情期间,不顾李文亮家人及公众感受,利用李文亮名字申请注册商标,明显违背社会主义道德风尚,造成不良社会影响。
长沙市知识产权局、天心区市场监督管理局(知识产权局)要求长沙市福茶堂电子商务有限公司法定代表人姜某某撤回商标注册申请,并向社会公开致歉。姜某某表示,深刻认识到问题的严重性,已主动撤回相关商标申请,并出具致歉书。

下一步,长沙市知识产权局将会同有关部门进一步严格管控和严厉打击与疫情相关的非正常商标注册申请行为,有力规范商标注册秩序。
网友:吃相难看,不能道歉就完事
南方网评论指出,李文亮是谁、经历了什么,显然不需要重述。他的生死牵动着太多人的心,他的离世令人悲痛。
然而,也有人在李医生去世当天,就迫不及待用李医生的姓名抢注商标。好一个“不忘记李文亮医生”!但这家公司不忘记的,是李医生的知名度,是人们对李医生的认可,是借机炒作的空间,是如果抢注到“李文亮”三个字作为商标能给自己带来的商业利益。
在抢注者眼里,李医生只是一个可以用来攫取经济利益的工具——商标只要有越多人知晓,就会收获越好的传播效果,至于李医生家人看到已故亲人的姓名莫名其妙出现在食品包装袋上会心痛,不重要;社会公众了解到事件原委会作何感想,无所谓。
东方网评论指出,抢注“李文亮”商标的行为既不道德,也不合事宜。对于这样的抢注行为,一直以来工商部门采取的是拒绝驳回的处理方式。但这种被动的驳回并不足以打消企业抢注的冲动。从某种意义上讲,工商部门应该对于抢注“李文亮”商标这样的行为有更严格的处罚措施,一旦发现企业有不符合规定的抢注行为,应该主动亮牌,而不是被动接受然后处理。
对于商家抢注“李文亮”商标,不少网友表示吃相难看,不能道歉就完事。



每日经济新闻综合自澎湃新闻、天心发布、南方网、东方网等
每日经济新闻


