钟南山凉茶、火神山烤鱼…恶意商标抢注何时了
中新网客户端4月11日电 (彭婧如)疫情发生以来,频频出现蹭疫情热度的商标注册申请,与疫情有关的关键词几乎均被利用。
近日,继“钟南山”“李文亮”之后,“李兰娟”商标也遭抢注。天眼查数据显示,“李兰娟”商标于2月12日被营口东璧企业策划有限公司抢注,注册分类为10-医疗器械、05-医药两类。
资料图:中国工程院院士、国家卫健委高级别专家组成员李兰娟。 中新社记者 安源 摄
“火神山烤鱼”“雷神山中医馆”,这些商标正等待受理
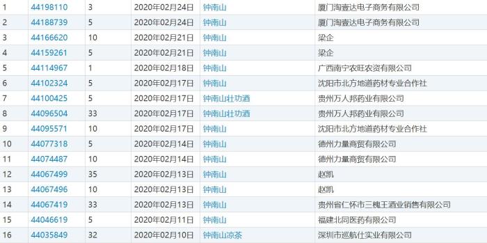
作者在国家知识产权局商标局中国商标网上查询发现,以“李兰娟”为关键词的商标共显示7条搜索结果;以“钟南山”为关键词,检索到2月7日以来共有19条商标申请。这些申请涉及的产品包括化肥、凉茶、白酒、啤酒、日化用品等。其中,“钟南山凉茶”“钟南山壮功酒”也已被申请。
在中国商标网,以“钟南山”为关键词,进行商标搜索的部分结果显示。
另外,“火神山”“雷神山”“零号病人”“瑞德西韦”“李文亮”“方舱”等关键词也没有逃脱商标抢注的命运。
2月10日,位于陕西的汉中永利环保科技有限责任公司曾通过商标代理机构,在第11类提出了“火神山”“雷神山”两个商标注册申请,准备使用在其新研发的节能炉具产品上;2月7日、13日,长沙市福茶堂电子商务有限公司、东莞特雷斯智能科技有限公司申请注册商标“李文亮”;2月17日,北京东方耀菜科技有限公司申请注册商标“零号病人”……
这些商标的申请人都是谁?作者发现,除了以个人身份申请“火神山烤鱼”“雷神山中医馆”等商标外,更多的是公司作为申请人。那么,问题来了……
为啥有人热衷于抢注商标?
“恶意抢注商标已形成灰色产业链,并且由来已久。”北京市京师律师事务所商标法律事务部主任熊超律师曾介绍说,商标恶意抢注的通常套路有:企业发起申请,通过知识产权代理公司递交材料,针对热点字词或图形进行抢注,之后在交易中高价倒卖。
另一种情况是抢先注册成功后,抢注人主动联系权利人要求有偿转让,或等权利人自己上门谈,否则将进行“维权索赔”。
“这些商家抢注商标的成本并不高。如果是个人申请注册的话,基本上就一个申请费,没有其他什么成本了。”北京中闻律师事务所张晓菊律师告诉记者,正常来讲申请费是300元,然后一类商标找专业代理的话,一个类别是1500元。
资料图:中国工程院院士、国家卫健委高级别专家组组长钟南山。中新社记者 陈骥旻 摄
恶意抢注被指“吃相难看”,抢注者都啥反应?
对于恶意抢注商标者来说,热点事件发生时往往是抢注商标的最佳时期。但同时,“火神山”、“雷神山”、“钟南山”以及其它与新冠肺炎疫情紧密联系的词汇,也是全社会舆论关注的焦点,恶意抢注行为一经曝光,便引来众人讨伐,认为“吃相难看”。
面对舆论压力,这些恶意抢注商标的公司的反应各不相同。
上述抢注“李兰娟”商标的公司负责人4月9日称,自己是“脑子一热”申请该商标,提交申请一小时后就再申请撤销。该负责人还表示,自己准备注销这家公司。
2月27日,长沙市福茶堂电子商务有限公司法定代表人27日发出致歉书,称由于自己法律意识淡薄,申请注册“李文亮”、“文亮”商标,对社会造成了不良影响,现在深刻认识到了错误行为,申请撤回商标。
目前,“火神山”“雷神山”“方舱”等多个商标流程状态显示:撤回商标注册申请。这其中有许多没有引起大众关注的公司,并未公开致歉。
其中一“火神山”商标申请流程显示“撤回”状态。
恶意抢注商标行为有得治吗?
2月以来,恶意注册商标的行为屡屡出现,除了舆论讨伐,有什么规定可以约束这种行为呢?
张晓菊表示,根据《商标法》第五十二条,如果没有经过注册,但擅自以“钟南山”等人名作为商标使用,地方工商行政管理部门有权予以制止,限期改正,并可以予以通报,违法经营额五万元以上的,可以处违法经营额百分之二十以下的罚款,没有违法经营额或者违法经营额不足五万元的,可以处一万元以下的罚款。
2月7日,国家知识产权局商标局审查部门下发了《疫情防控相关商标审查指导意见》,明确与疫情相关人员姓名、含疫情病毒名或疾病名的相关标志、疫情相关药品标志、防护产品相关标志及其他疫情相关标志等商标的审查指导意见,依法从严从快打击与疫情相关的非正常商标注册申请行为。
张晓菊说,“出现这种恶意抢注的现象之后,对专业代理公司是有惩罚的制度了,有的被处罚了10万元。”
“钟南山、李兰娟是我国抗击非典和新冠肺炎疫情的领军人物,其个人对社会的贡献大家都耳闻能详。”张晓菊称,“从社会公众的角度看,将其姓名注册为商标,不但侵犯其姓名权,而且还违反了《商标法》第十条(八)款中有害于社会主义道德风尚或者有其他不良影响的规定。”(完)
()


